Nakrętki antykradzieżowe 14x1,5 McGard - czarne
- Nakrętki zabezpieczające 14x1,5
- - Nakrętka: M14
- - Osadzenie: stożek
- - Skok gwintu: 1,5
- - kolor czarny
- Nasadka na klucz 21, 22
- MG 24214 sub
Produkty subskrypcyjne w twoim koszyku
Ustaw jedną częstotliwość dostaw dla wszystkich produktów subskrypcyjnych z twojego koszyka co:
Produkty subskrypcyjne w twoim koszyku
Nakrętki zabezpieczające koła przed kradzieżą M14x1,5
Oferujemy profesjonalne systemy ochrony kół renomowanego amerykańskiego producenta McGard. W estetycznym, wygodnym opakowaniu znajdą Państwo sprawdzony, wysokiej jakości produkt, idealnie spełniający europejskie standardy wymogów technicznych. Każdy zestaw zawiera cztery nakrętki, które montuje się po jednej na koło oraz reduktor o unikatowym wzorze. Użycie zestawu gwarantuje bezpieczeństwo eksploatacji i dobrą ochronę kół przed kradzieżą.
Parametry zabezpieczeń antykradzieżowych
- nakrętka- M 14
- gwint - 1,5
- kształt łba - stożek
- klucz 21, 22
- kolor czarny
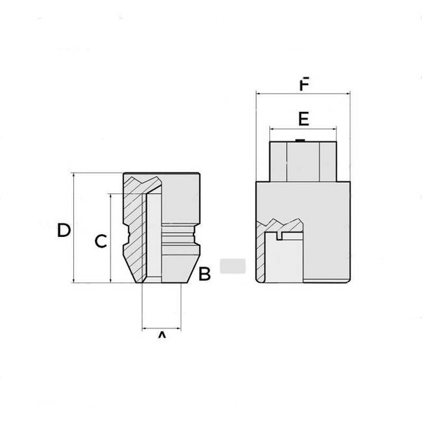
Objaśnienie przekrojów
- A - gwint: M14x1,5
- B - osadzenie; stożek: 60°
- C - długość robocza: 35 mm
- D - wysokość nakrętki: 40 mm
- E - rozmiary klucza: 21/22 mm
- F - średnica zewnętrzna nakrętki: 27,7 mm
- Kod produktu: MG 24152 su
Zabezpieczenia można montować w samochodach:
- Ford Edge*, Galaxy*; Mustang Mach-E*; Mustang*; S-Max*; Transit Connect*; Transit Custom*; Transit Tourneo Custom*; Transit*
- Ineos Grenadier*
- Ssangyong Rexton*
- Tesla 3 Performance*; 3*; S*; X*; Y*
- Felgi akcesoryjne
- BYD Seal; Seal U
- Cadillac: CT6; CTS; Escalade; SRX; XT5
- Chevrolet Camaro, Corvette
- Dodge Challenger; Charger; Durango; RAM 1500
- Ford: Edge; Explorer; Galaxy; Mustang; Mustang Mach-E; S-Max; Tourneo Connect; Transit; Transit Connect; Transit Custom; Transit Tourneo Custom
- GMC: Yukon
- Ineos: Grenadier
- Jaguar: E-Pace; F-Pace; F-Pace SVR; I-Pace
- Jeep: Gladiator; Grand Cherokee; Wrangler
- Land Rover: Defender; Discovery II; Discovery III; Discovery IV; Discovery Sport; Discovery V; Evoque; Freelander II; Range Rover; Range Rover Evoque; Range Rover Sport / SVR; Range Rover Velar
- Lexus: LC; LM; LS; LX
- Lotus: Eletre
- MG: Marvel R
- Opel: Insignia; Insignia Country Tourer; Insignia GSI; Insignia OPC
- RAM: RAM 1500
- Saab: 9.5
- Ssangyong: Actyon; Musso; Rexton; Rexton W
- Tesla: 3; 3 Performance; S; X; Y
- Toyota: Landcruiser
Informacje dodatkowe o stosowaniu zabezpieczeń
- * - felgi aluminiowe
- ** - tylko felgi stalowe
Do pobrania
Zasoby dotyczące bezpieczeństwa i produktów
Model zabezpieczenia
MG 24214 sub
Średnica gwintu
M14
Skok gwintu
1,5 mm
Osadzenie w feldze
Stożek
Rozmiar klucza
21/22
Twardość śruby/szpilki
10.9
Zastosowanie
do felg stalowych i aluminiowych
Kolor śruby / nakretki
czarny
Zapytaj o produkt
Jeżeli powyższy opis jest dla Ciebie niewystarczający, prześlij nam swoje pytanie odnośnie tego produktu. Postaramy się odpowiedzieć tak szybko jak tylko będzie to możliwe.
Dane są przetwarzane zgodnie z polityką prywatności. Przesyłając je, akceptujesz jej postanowienia.
Napisz swoją opinię
Twoja ocena:
Dodaj własne zdjęcie produktu:
Niepotwierdzona zakupem
Ocena: /5












