Nakrętki zabezpieczające do kół 12x1,25 McGard
- Nakrętki zabezpieczające koła samochodu 12x1,25
- - Nakrętka: M12
- - Osadzenie: stożek
- - Skok gwintu: 1,25
- - Nasadka na klucz 19
- Ean: 4034535245526
- MG 24552 su
Produkty subskrypcyjne w twoim koszyku
Ustaw jedną częstotliwość dostaw dla wszystkich produktów subskrypcyjnych z twojego koszyka co:
Produkty subskrypcyjne w twoim koszyku
Nakrętki ZABEZPIECZAJĄCE koła M12x1,25
Oferujemy profesjonalne systemy ochrony kół renomowanego amerykańskiego producenta McGard. W estetycznym, wygodnym opakowaniu znajdą Państwo sprawdzony, wysokiej jakości produkt, idealnie spełniający europejskie standardy wymogów technicznych. Każdy zestaw zawiera cztery śruby lub nakrętki, które montuje się po jednej na koło oraz reduktor o unikatowym wzorze. Użycie zestawu gwarantuje bezpieczeństwo eksploatacji i dobrą ochronę kół przed kradzieżą.
Parametry nakrętki zabezpieczającej koła
- nakrętka- M 12
- gwint - 1,25
- kształt łba - stożek
- klucz 19
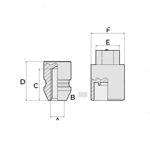
Objaśnienie przekroju nakrętek antykradzieżowych
- A - gwint: M12x1,25
- B - osadzenie stożek: 60°
- C - długość robocza: 25 mm
- D - wysokość nakrętki: 33 mm
- E - klucz: 19 mm
- F - średnica zewnętrzna: 27,7 mm
- Kod produktu: MG 24552 su
- Kod ean: 4034535245526
Można zastosować McGard w samochodach:
- Nissan: Pixo
- Opel: Agila
- Subaru: BRZ, Forester, Impreza, Impreza WRX STI, Legacy, Levorg, Outback, Tribeca, XV
- Suzuki: Alto,Baleno II, Celerio,Grand Vitara, Ignis, Jimny, Kizashi, Liana, Swift, Swift Sport
- Toyota: GT 86, GR 86
Symbol
4034535245526
Kod producenta
4034535245526
Średnica gwintu
M12
Skok gwintu
1,25 mm
Osadzenie w feldze
Stożek
Rozmiar klucza
19
Twardość śruby/szpilki
10.9
Zastosowanie
do felg stalowych i aluminiowych
Zapytaj o produkt
Jeżeli powyższy opis jest dla Ciebie niewystarczający, prześlij nam swoje pytanie odnośnie tego produktu. Postaramy się odpowiedzieć tak szybko jak tylko będzie to możliwe.
Dane są przetwarzane zgodnie z polityką prywatności. Przesyłając je, akceptujesz jej postanowienia.
Napisz swoją opinię
Twoja ocena:
Dodaj własne zdjęcie produktu:
Niepotwierdzona zakupem
Ocena: /5














